
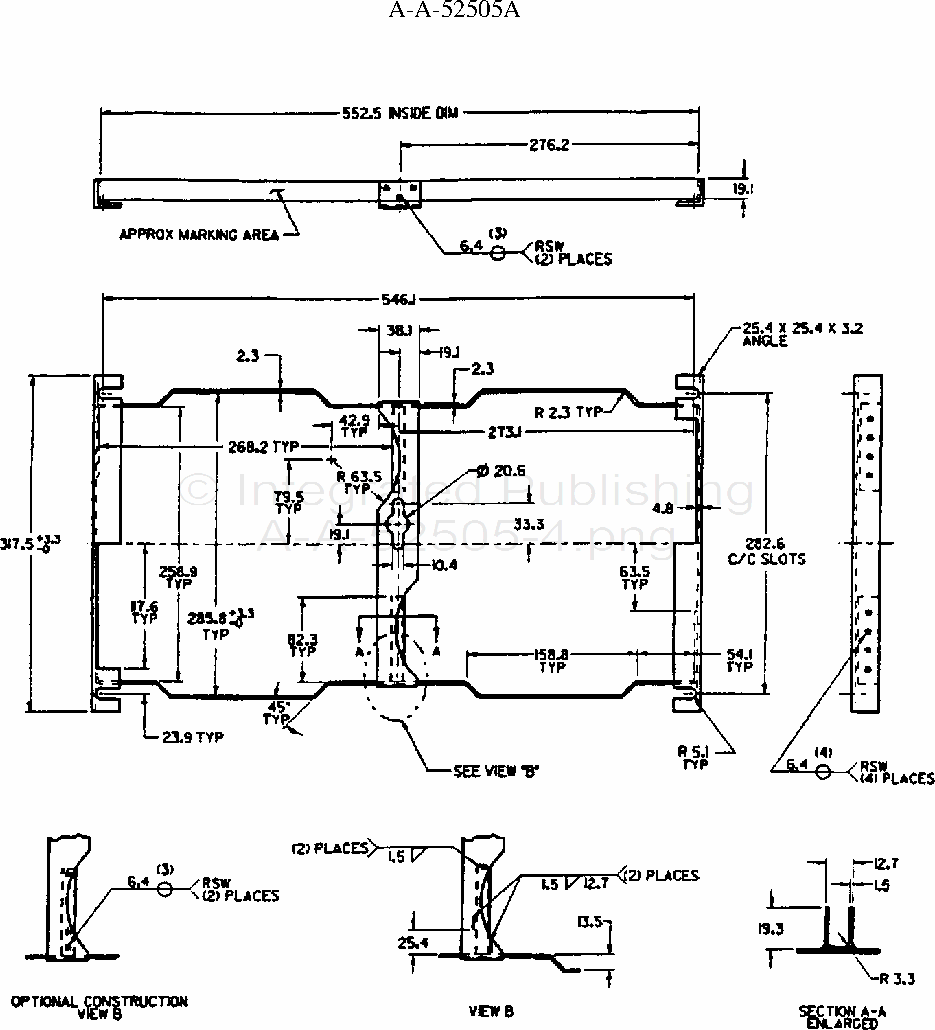
NOTE: Dimensions are in millimeters. Unless otherwise specified, tolerances are ±.8 mm.
FIGURE 3. Type C, battery retainer for 6TMF or 6TAGM double battery.
For Parts Inquires call Parts Hangar, Inc (727) 493-0744
© Copyright 2015 Integrated Publishing, Inc.
A Service Disabled Veteran Owned Small Business